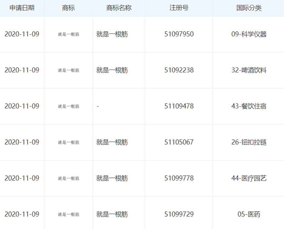
地产大佬“就是一根筋”